配水闸阀是闸阀中使用极为广泛的一种,因其操作便捷、控制效果好的优点深受大家的喜爱,根据工作方式的不同,配水闸阀可以分为手动型(PZ-1型)和电动型(PZ-TT型)。这两种类型的闸阀在启闭件上都采用了闸板设计,其运动方向与流体方向呈垂直状态。闸板的作用主要在于控制水流的开启和关闭,但并不具备调节和节流的功能。在全开或全关的状态下,闸阀能够完全阻断水流,保证水流的稳定性。下面由kaiyun体育app下载官网最新版配水闸阀厂家为大家带来配水闸阀的概述与应用发展介绍。

配水闸阀是一种常用的阀门,用于控制管道中介质的流量和流向。它通常由一个圆形的阀体和可移动的阀瓣组成。当阀瓣关闭时,配水闸阀可以完全阻挡管道中的介质流动,而当阀瓣打开时,介质可以流过阀门。
配水闸阀的优点在于其结构简单、易于操作和维修,而且密封性能较好,能够有效地控制管道中介质的流量和流向。在需要调节介质流量的情况下,可以通过改变阀瓣的开度来实现。此外,配水闸阀还具有良好的耐腐蚀性能和较长的使用寿命,因此在许多领域中都有广泛的应用。
在具体的应用场景中,配水闸阀可以用于控制水、气体、液体等介质的流动,例如在给水管道、供暖系统、工业管道等领域中都有广泛的应用。此外,特殊材质配水闸阀还可以用于控制一些具有腐蚀性的介质,例如酸、碱等化学物质。
总之,配水闸阀是一种结构简单、操作方便、密封性能好、耐腐蚀性能强、使用寿命长的阀门。在许多领域中都有广泛的应用,是控制管道中介质流量和流向的重要设备之一。

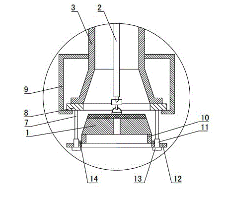
配水闸阀结构图
为了更好地满足各种应用场景的需求,配水闸阀的设计和制造也在不断地发展和改进。例如,一些新型的配水闸阀采用了更加耐腐蚀的材料,提高了阀门的耐久性和可靠性。同时,一些配水闸阀还采用了智能控制技术,可以通过远程控制或自动控制系统实现阀门的自动调节和控制,进一步提高了阀门的使用效率和安全性。总之,随着技术的不断进步和应用需求的不断提高,配水闸阀将会在更多的领域中得到应用和推广,为人们的生活和工作带来更多的便利和安全。
除了传统的圆形阀体外,还有一些特殊形状的配水闸阀,如扇形阀和锥形阀。这些特殊形状的阀门更适合于控制特定形状的管道或需要特定流向控制的场合。此外,为了满足各种不同的应用需求,配水闸阀的材料和工艺也在不断改进。例如,一些高性能的合金材料和表面处理技术可以大大提高阀门的耐腐蚀性和耐磨性,使其适用于更为恶劣的环境。
随着智能化和自动化的趋势,一些配水闸阀已经实现了远程控制和自动控制。通过与传感器和执行器的配合,可以实现精确的流量控制和自动调节。这不仅提高了生产效率,也降低了人工操作的误差和安全风险。
在未来,随着环保意识的提高和能源消耗的限制,高效节能的配水闸阀将会受到更多的关注。例如,一些节能型的配水闸阀可以在保证密封性能的同时,减少介质的摩擦和阻力,从而降低能源的消耗。
总的来说,配水闸阀作为一种重要的流体控制设备,其应用领域将会越来越广泛。随着技术的进步和应用需求的提高,配水闸阀将会在材料、设计、制造和智能化方面得到更多的创新和发展,为人类的生产和生活带来更多的便利和效益。
浙公网安备 33032402001884号
技术支持:云鼎科技